Product Summary
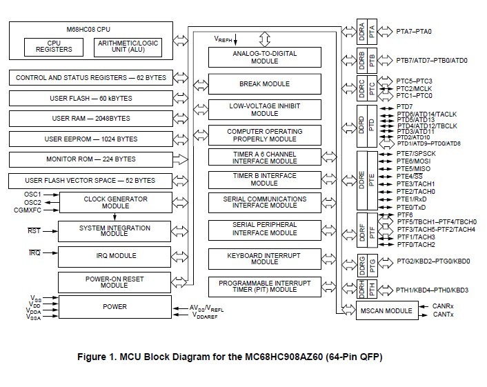
The MC68HC908AZ60CFU is a member of the low-cost, high-performance M68HC08 Family of 8-bit microcontroller units (MCUs). It is based on the customer-specified integrated circuit (CSIC) design strategy. All MCUs in the family use the enhanced it central processor unit (CPU08) and are available with a variety of modules, memory sizes and types, and package types.
Parametrics
MC68HC908AZ60CFU absolute maxing ratings: (1)Supply Voltage VDD: -0.3 to +6.0V; (2)Input Voltage VIN: VSS-0.3 to VDD+0.3V; (3)Maximum Current Per Pin Excluding VDD and VSS I: ±25mA; (4)Storage Temperature TSTG: -55 to +150℃; (5)Maximum Current out of VSS IMVSS: 100mA; (6)Maximum Current into VDD IMVDD: 100mA; (7)Reset IRQ Input Voltage VHI: VDD+4V.
Features
MC68HC908AZ60CFU features: (1)High-Performance M68HC08 Architecture; (2)Fully Upward-Compatible Object Code with M6805, M146805 and M68HC05 Families; (3)8.4 MHz Internal Bus Frequency; (4)60 Kbytes of FLASH Electrically Erasable Read-Only Memory; (5)(FLASH); (7)FLASH Data Security; (6)1 Kbyte of On-Chip Electrically Erasable Programmable Read-Only Memory with Security Option (EEPROM); (7)2 Kbyte of On-Chip RAM; (8)Clock Generator Module (CGM); (9)Serial Peripheral Interface Module (SPI); (10)Serial Communications Interface Module (SCI); (11)8-Bit, 15-Channel Analog-to-Digital Converter (ADC-15); (12)16-Bit, 6-Channel Timer Interface Module (TIMA-6); (13)Programmable Interrupt Timer (PIT); (14)System Protection Features.
Diagrams

| Image | Part No | Mfg | Description | ![]() |
Pricing (USD) |
Quantity | ||||
|---|---|---|---|---|---|---|---|---|---|---|
![]() |
![]() MC68HC908AZ60CFU |
![]() Freescale Semiconductor |
![]() IC MCU 60K FLASH 8MHZ 64-QFP |
![]() Data Sheet |
![]() Negotiable |
|
||||
| Image | Part No | Mfg | Description | ![]() |
Pricing (USD) |
Quantity | ||||
![]() |
![]() MC6800 |
![]() Other |
![]() |
![]() Data Sheet |
![]() Negotiable |
|
||||
![]() |
![]() MC6801 |
![]() Other |
![]() |
![]() Data Sheet |
![]() Negotiable |
|
||||
![]() |
![]() MC68020 |
![]() Other |
![]() |
![]() Data Sheet |
![]() Negotiable |
|
||||
![]() |
![]() MC68020CEH16E |
![]() Freescale Semiconductor |
![]() Microprocessors (MPU) 32-BIT MPU |
![]() Data Sheet |
![]() Negotiable |
|
||||
![]() |
![]() MC68020CEH25E |
![]() Freescale Semiconductor |
![]() Microprocessors (MPU) 32-BIT MPU |
![]() Data Sheet |
![]() Negotiable |
|
||||
![]() |
![]() MC68020CRC16E |
![]() Freescale Semiconductor |
![]() Microprocessors (MPU) 32-BIT MPU |
![]() Data Sheet |
![]() Negotiable |
|
||||
(Hong Kong)










