Product Summary
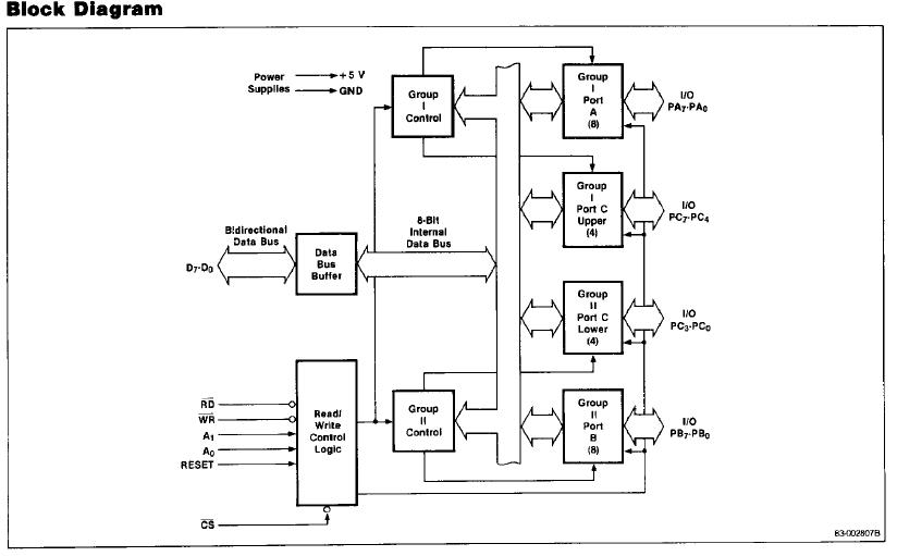
The D8255AC-2 is a genneral purpose programmable input/output device, which is designed for use with the 8080A/8085A microprocessors. Twenty-four I/O lines of the D8255AC-2 may be programmed in two groups of twelve and used in three modes of operation.
Parametrics
D8255AC-2 absolute maximum ratings: (1)operating temperature: 0 to +70℃; (2)storage temperature: -65 to +150℃; (3)voltage on any pin with respect to VSS: -0.5 to +7V.
Features
D8255AC-2 features: (1)fully compatible with 8080A/8085 microprocessor families; (2)all inputs and outputs TTL compatible; (3)24 programmable I/O pins; (4)direct bit set/reste eases control application interfaces; (5)eight darlington drive outputs for printers and displays; (6)LSI drastically reduces system package count.
Diagrams

![]() |
![]() D8254 |
![]() Other |
![]() |
![]() Data Sheet |
![]() Negotiable |
|
||||
(Hong Kong)








